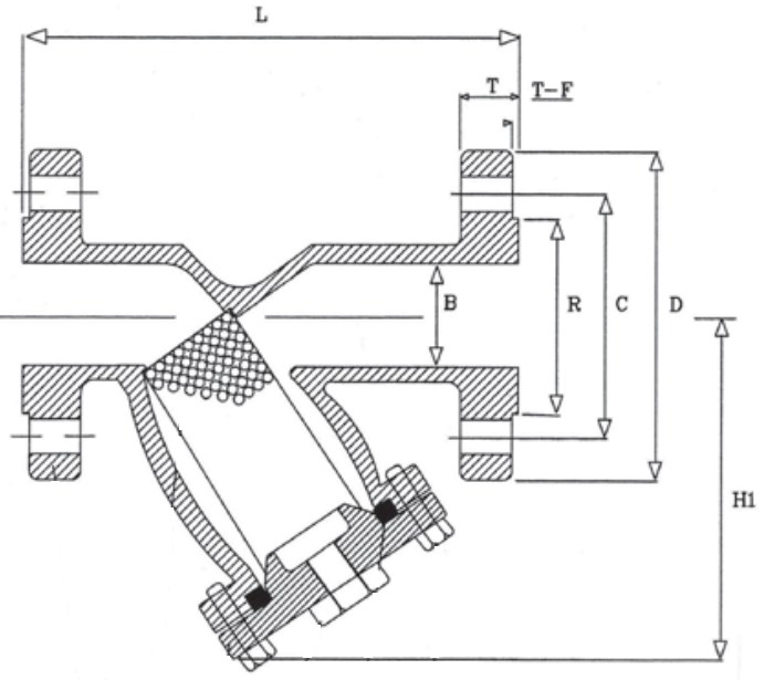
Description
The UNI150006 stainless steel ‘Y’ type strainer with a stainless steel screen ideally suited for use in the water distribution, gas oil, steam and petrochemical applications to protect meters, pumps, valves and other pipeline equipment.

